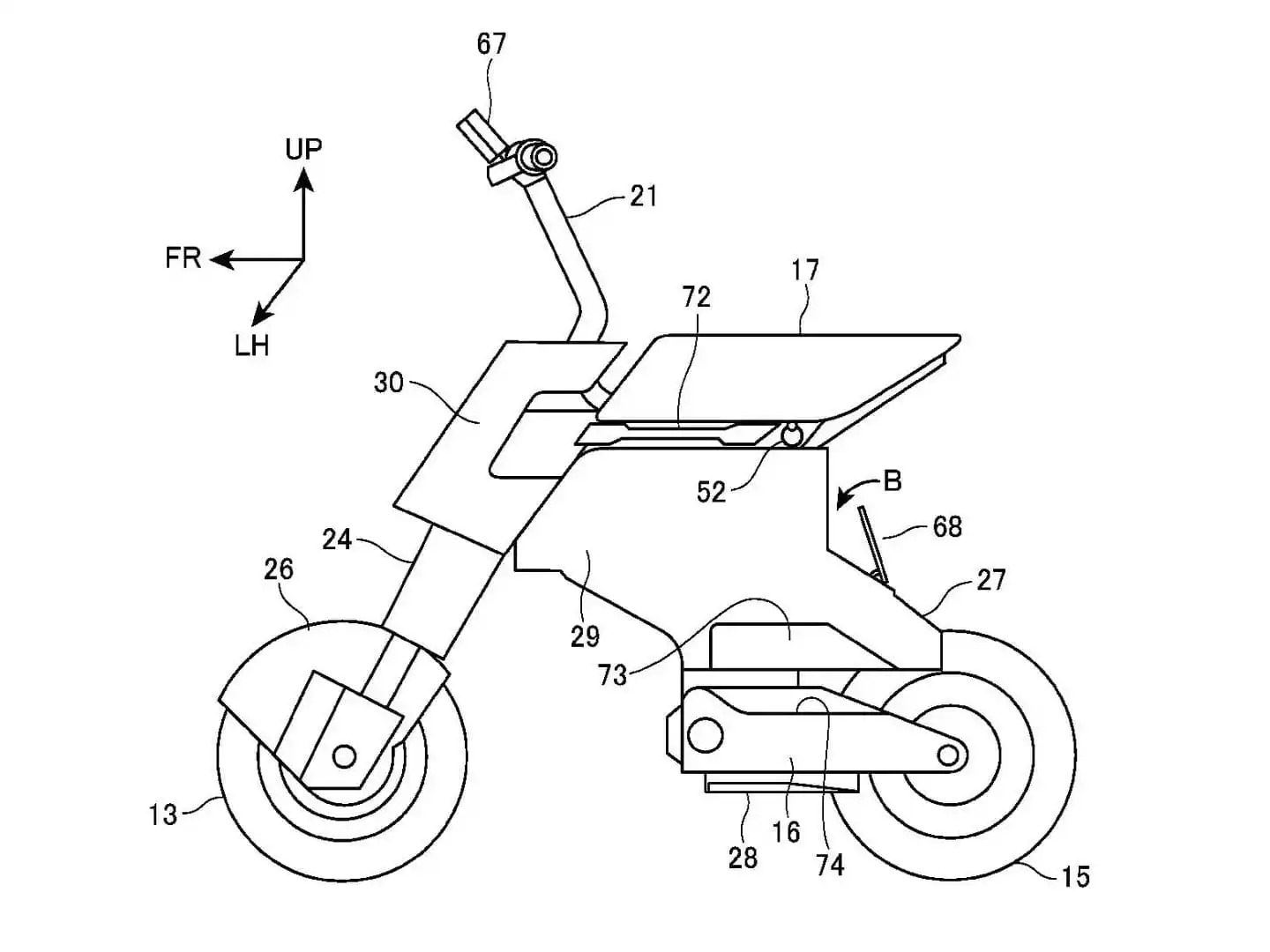
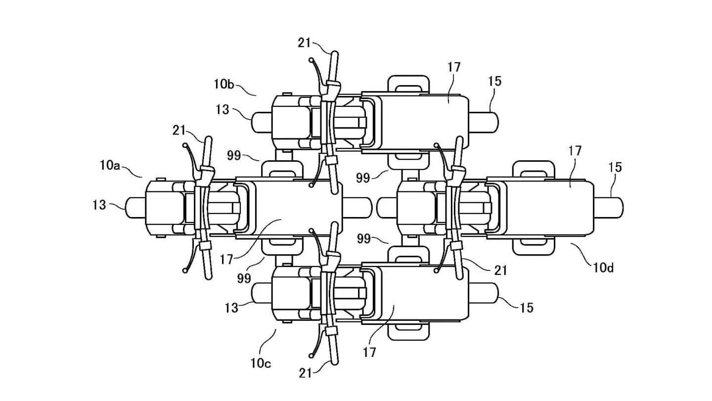
申请了一种能够与其他相同摩托车组合的微型摩托车的制造专利。这个想法可能看起来很荒谬,但具有想象另一种特别原始的移动形式的优点。我们 Electrek 的同事透露的图像显示了一种小型电动平衡自行车,旨在运送一名乘客。它的特殊性?它能够将自己附加到其他相同的摩托车上,形成一组变形金刚风格的迷你摩托车。如何 ?使用折叠脚踏板将一辆车连接到另一辆车。
由于其紧凑的尺寸和较轻的重量,这款小型汽车非常适合城市旅行。至于它与其他类似摩托车耦合的可能性,显然还有待解释。这种群体形式的分组是否可以改善整体的空气动力学并增加电池的自主性?这是一项专用车队功能吗?可以让一名驾驶员一次安全地返回四辆车吗?
一个不那么疯狂的项目?
不应排除最后一种选择,因为本专利申请所附的文件提到了当摩托车组合时将控制权委托给领头车辆的驾驶员的可能性。在这种配置下,此类车辆将受到 Bird、Lime 和 Tier 等对自助共享电动滑板车密切关注的玩家的特别兴趣。
无论它仍然是一个疯狂的项目还是有一天会成为现实,这项专利的优点是证实了日本品牌在电动汽车方面确实加速了发展。近年来,本田通过设计专门为城市设计的轻型电动摩托车而多次脱颖而出。可以肯定的是,这家制造商承诺在未来几年内推出不少于 10 款新电动车型,因此认为将这些看似牵强的项目中的一个拿出来是合适的。
来源 : 埃莱克特雷克








